IT/DBA Statement of Work
Write 1-2 page Statement of Work (SOW) to describe the need to create, design and implement the database that you propose for your project. What is the business need and business problem?
What is the purpose of the project?
What is the scope of the work?
What will be achieved by implementing this database?
What benefits does the new database offer?
The SOW should have one paragraph of overview for executive summary, a section captures the purpose and objectives of the database, and a detailed description on related technologies to be used in the project such as diagram and design tools, DBMS system, hardware, software, DDL and DML (How you will use these in your project).
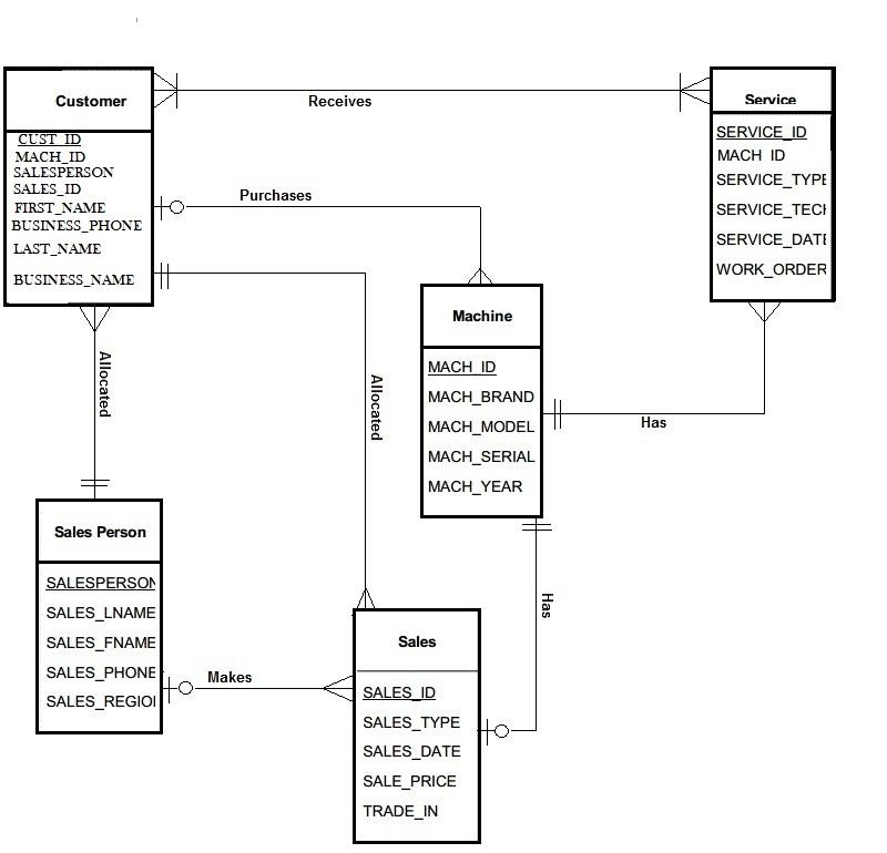
ERD

Figure 1: ERD Design
Business Rules
A Customer must have at least one service
Many customers can have many services
A customer must have a machine
A customer can have many machines
A machine does not have to have a customer
A machine can only have one customer
A customer must have a sales person
One sales person can attend to many customers
A customer can only be allocated to one sales person
A customer must have a sale
A customer can have many sales
A sale can only have one customer
A sales person does not have to have a sale
A sales person can make many sales
A sale can only be made by one sales person
A machine does not have to have a sale
A machine can only have one sale
A machine must have a service
A machine can have many services
A service can only be traced to one machine