IT Database / ERD Task
ERD

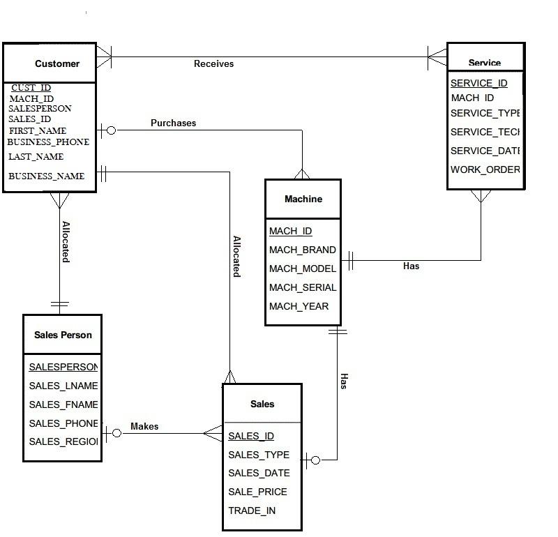
Figure 1: ERD Design
Business Rules
A Customer must have at least one service
Many customers can have many services
A customer must have a machine
A customer can have many machines
A machine does not have to have a customer
A machine can only have one customer
A customer must have a sales person
One sales person can attend to many customers
A customer can only be allocated to one sales person
A customer must have a sale
A customer can have many sales
A sale can only have one customer
A sales person does not have to have a sale
A sales person can make many sales
A sale can only be made by one sales person
A machine does not have to have a sale
A machine can only have one sale
A machine must have a service
A machine can have many services
A service can only be traced to one machine